- Главная
- Комплектующие
- Точные измерения и контроль процесса обработки
- Датчики КИМ
- Контактно-измерительные системы
- PH10 PLUS приводные головки с шаговым изменением углового положения RENISHAW
PH10 PLUS приводные головки с шаговым изменением углового положения RENISHAW
Серия головок PH10 PLUS повышает производительность за счёт предоставления автоматизированным КИМ дополнительной возможности программно-управляемой переориентации датчиков. Серия включает в себя три модели головок PH10 PLUS. Каждая из них может работать с определённым набором датчиков и удлинителей и устанавливаться с высокой повторяемостью в 720 положений, обеспечивая доступ к самым труднодоступным элементам детали.
Это позволяет выполнять измерения элементов под различными углами без необходимости частой смены щупов, занимающей много времени. Все три варианта исполнения головок PH10 поставляются с улучшенным показателем повторяемости, составляющей 0,4 мкм (2σ) (определяется при расстоянии 62 мм). Таким образом, обеспечивается более высокая точность позиционирования наконечника щупа в точке касания.
Серия головок PH10 PLUS
Особенности PH10T PLUS
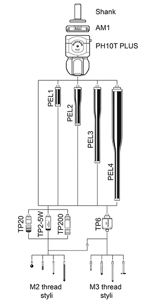
- PH10T PLUS представляет собой моторизованную индексирующую головку, которая монтируется и переориентирует датчик в любое из 720 положений с шагом 7,5°.
- Контролируется PHC10-3 PLUS.
- Все резьбовые щупы M8 могут быть установлены непосредственно на держатель PH10T PLUS.
- Совместим с удлинителями PEL (M8) длиной до 300 мм.
- Модуль регулировки AM1 (устанавливается между головкой и хвостовиком) корректирует выравнивание PH10T PLUS на машине.
- Устанавливается в хвостовик.
Особенности PH10M PLUS / PH10MQ PLUS
- PH10M PLUS и PH10MQ PLUS являются моторизованными индексирующими головками, которые переориентируют датчик в любое из 720 положений с шагом 7,5°.
- Автоматическое соединение для повторного позиционирования датчика.
- Крутящий момент, способный поднимать удлинитель длиной 300 мм.
- Полноценная многопроводная связь для датчиков типа TP7M и SP25M.
- Быстрая автоматическая смена датчика через ACR1 или ACR3.
- AM1 для PH10M PLUS и AM2 для модулей настройки PH10MQ PLUS для выравнивания головки с машиной.
- PH10MQ PLUS помещается внутри пиноли для аккуратного и точного крепления датчика.
| Повторяемость позиционирования | <0,4 мкм на 100 мм от центра вращения оси A | |
| Позиционирование | шаг | 7,5° |
| по оси A от 0° до 105° | 15 позиций | |
| ось В -180° до +180° | 48 позиций | |
| всего | 720 позиций | |
| Способ крепления датчика | PH10T PLUS | резьба М8, диаметр втулки 18 мм |
| PH10M PLUS / PH10MQ PLUS | многоконтактное автоматическое стыковочное соединение | |
| Способ крепления головки | PH10T PLUS | хвостовик для стыковки с КИМ |
| PH10M PLUS | стыковка с КИМ посредством хвостовика | |
| PH10MQ PLUS | непосредственно в пиноль | |
| Максимальный рекомендуемый крутящий момент | 0,45 Нм | |
| Максимальная длина удлинителя | PH10T PLUS | 300 мм при использовании удлинителя PEL4 |
| PH10M PLUS / PH10MQ PLUS | 300 мм при использовании удлинителя PAA3 450 мм при использовании удлинителя PAACF (только по специальному заказу) |
|
| Размеры | PH10T PLUS | 103 х 62 мм |
| PH10M PLUS | 117 х 62 мм | |
| PH10MQ PLUS | 73 х 80 мм | |
| Вес | PH10T PLUS | 595 г |
| PH10M PLUS | 620 г | |
| PH10MQ PLUS | 730 г | |
| Используемый контроллер | PHC10-3 PLUS | |
| Рабочая температура | от +10°C до +40°C | |
| Температура хранения | от -10°C до +70°C | |
Для заказов на сумму более 50 000 руб. доставка включена в стоимость.
В других случаях рассчитывается исходя из веса отправления и региона доставки.
Возможна доставка любой удобной для заказчика ТК
Сроки доставки от 1 до 3 дней по Центральному региону
По умолчанию мы работаем с двумя курьерскими компаниями:
Major — российская компания, занимающаяся продажей автомобилей и перевозками грузов. Крупнейший, наряду с «Рольфом», автодилер страны.
DPDgroup — международная служба экспресс-доставки. В среднем ежедневно доставляет более 5 миллионов посылок. Работает под торговой марками DPD.
Это наши проверенные партнеры. Однако если вы предпочитаете работать с другой курьерской службой, у нас нет ограничений. Просто сообщите нам об этом. Мы согласуем все условия и отправим заказ с полным комплектом сопутствующей документации.
Как оплатить?
Оплата принимается по безналичному расчету. После согласования заказа мы выставляем счет на оплату. Заказ считается оплаченным после поступления суммы заказа на расчетный счет ООО «Эффективное производство».
Как получить?
География доставки — вся Россия. При перевозке грузы подлежат страхованию. Обычно доставка входит в стоимость продукции.
Схемы датчиков

Варианты исполнения

Варианты исполнения

Приобретая продукцию у нас, вы можете быть уверены, что получаете оригинальное сертифицированное оборудование, комплектующие и оснастку.
На весь представленный ассортимент распространяется гарантия завода-изготовителя. Для каждого конкретного изделия производитель устанавливает определенный гарантийный срок. Обычно он составляет 12-36 месяцев.
Согласно п. 1 ст. 471 Гражданского кодекса РФ гарантийный срок на товар исчисляется с момента фактической передачи его покупателю.
При наступлении гарантийного случая и отсутствии следов некорректной эксплуатации, осуществляется замена неисправного оборудования в соответствии с Законом о защите прав потребителей.
Если утрата функциональности изделия связана с механическими повреждениями, попытками модификации или ремонта, нецелесообразным использованием, то компания ООО «Эффективное производство» не несет за это ответственности, а действие гарантийных обязательств прекращается.
Иногда мы сталкиваемся с ситуацией, когда подлинные запчасти работают некорректно, т.к. нарушена технология их установки. В таком случае наши инженеры удаленно помогают клиентам наладить эксплуатацию.





































